产品描述
横川·YOKOKAWA 系列直线电机模组,包括无铁芯电机和有铁芯电机类型的模组,载台 长度有135mm、190mm、270mm、378mm多种可选类型,分别对应多种推力和负载 递增的多个范围。标准的模组提供50mm递增(1000以内)可选有效行程。
LMC系列有铁芯电机

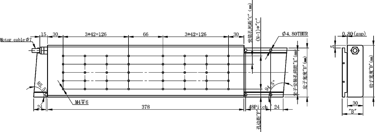
外形图(单位:mm)

650彩票
|
性能参数 |
单位 |
LMC378-045-S1 |
LMC378-060-S1 |
LMC378-080-S1 |
LMC378-080-S2 |
LMC378-100-S1 |
LMC378-100-S2 |
LMC378-125-S2 |
|
峰值推力 |
N |
594 |
1040 |
1624 |
1624 |
2200 |
2220 |
2956 |
|
峰值电流 |
A |
12 |
23.6 |
28.4 |
37 |
26 |
37 |
28 |
|
持续推力 |
N |
170 |
300 |
460 |
460 |
600 |
600 |
750 |
|
持续电流 |
A |
3 |
6.8 |
8 |
10.5 |
7 |
10 |
9.2 |
|
电机常数@Tmax. |
N/(W1/2) |
22 |
38.6 |
52 |
52 |
62 |
62 |
78 |
|
最大持续耗散功率 |
W |
68 |
120 |
158 |
158 |
188 |
188 |
228 |
|
绕组代码 |
|
S1 |
S1 |
S1 |
S2 |
S1 |
S2 |
S1 |
|
力常数 |
N/A |
50 |
44 |
56.8 |
43.8 |
84 |
60 |
85 |
|
反向电动势 |
V/m/s |
42 |
36.4 |
46.4 |
35 |
68.7 |
69.2 |
69.4 |
|
相间电阻 |
ohms |
3.6 |
1.5 |
2 |
0.86 |
2.6 |
1.17 |
1.55 |
|
相间电感 |
mH |
19 |
8.5 |
11.5 |
5.8 |
14.2 |
7.9 |
10.5 |
|
电气时间常数 |
ms |
5.3 |
5.7 |
5.8 |
6.7 |
5.5 |
6.8 |
6.8 |
|
最大端电压 |
Vdc |
330 |
330 |
540 |
540 |
540 |
540 |
540 |
|
吸引力 |
kN |
1.1 |
2 |
3.2 |
3.2 |
4.5 |
4.5 |
5.8 |
|
动子重量 |
kg |
1.8 |
3.2 |
4.6 |
4.6 |
6.2 |
6.2 |
7.7 |
|
定子型号 |
|
T-LMC100-045-S*** |
T-LMC100-060-S*** |
T-LMC100-080-S*** |
T-LMC100-080-S*** |
T-LMC100-100-S*** |
T-LMC100-100-S*** |
T-LMC100-125-S*** |
|
定子重量 |
kg/m |
1.7 |
3 |
4.3 |
4.3 |
5.7 |
5.7 |
7.3 |
|
极距 |
mm |
24 |
24 |
24 |
24 |
24 |
24 |
24 |
|
定子可选长度 |
mm |
96,144,192,240 |
96,144,192,240 |
96,144,192,240 |
96,144,192,240 |
96,144,192,240 |
96,144,192,240 |
96,144,192,240 |